The Digital UNIX sockets programming interface supports the XPG4 standard and the Berkeley Software Distribution (BSD) socket programming interface.
In Digital UNIX, sockets provide an interface to the Internet Protocol suite (TCP/IP) and to the UNIX domain for interprocess communication on the same system. However, you can use sockets to build network-based applications that are independent of the underlying networking protocols and hardware.
To use the XPG4 standard implementation in your program, you must compile your program using the c89 compiler command. The examples in this chapter are based on the XPG4 standard. See Section 4.4 for information on the differences between the XPG4 and the BSD interfaces.
This chapter contains the following information:
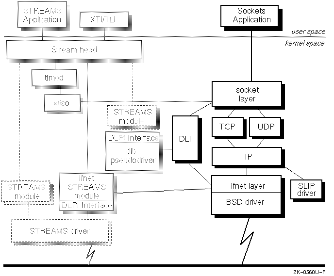
Figure 4-1 highlights the sockets framework and shows its relationship to the rest of the network programming environment:

The sockets framework consists of:
This section describes the abstractions and definitions that underlie sockets communication properties.
Sockets function as endpoints of communication. A single socket is one endpoint; a pair of sockets constitutes a two-way communication channel that enables unrelated processes to exchange data locally and over networks.
Application programs request the operating system to create a socket when one is needed. The operating system returns a socket descriptor that the program uses to reference the newly created socket for further operations.
Sockets have the following characteristics:
Sockets are typed according to their communication properties. See Section 4.1.1.3 for a description of the available socket types.
Communication domains define the semantics of communication between systems whose hardware and software differ. Communication domains specify the following:
Digital UNIX provides default support for the following socket domains Digital UNIX provides socket communication between processes running on the same system when a domain of AF_UNIX is specified. In the UNIX communication domain, sockets are named with UNIX pathnames, such as /dev/printer.
Digital UNIX provides socket communication between a process running locally and one running on a remote host when a domain of AF_INET is specified. This domain requires that TCP/IP be configured and running on your system.
Table 4-1 summarizes the characteristics of the UNIX and Internet domains.
| UNIX | Internet | |
| Socket Types | SOCK_STREAM, SOCK_DGRAM | SOCK_STREAM, SOCK_DGRAM, SOCK_RAW. |
| Naming | String of ASCII characters, for example, /dev/printer. | 32-bit Internet address plus 16-bit port number. |
| Security | Process connecting to a pathname must have write access to it. | Not applicable. |
| Raw Access | Not applicable. | Privileged process can access the raw facilities of IP. Raw socket is associated with one IP protocol number, and receives all traffic received for that protocol. |
Each socket has an associated abstract type which describes the semantics of communications using that socket type. Properties such as reliability, ordering, and prevention of duplication of messages are determined by the socket type. The basic set of socket types is defined in the <sys/socket.h> header file.
Note
Typically, header file names are enclosed in angle brackets (< >). To obtain the absolute path to the header file, prepend /usr/include/ to the information enclosed in the angle brackets. In the case of <sys/socket.h>, socket.h is located in the /usr/include/sys directory.
Within the UNIX and Internet domains you can use the following socket types:
Often datagrams are used for requests that require a response or responses from the recipient, such as with the finger program. If the recipient does not respond in a specified period of time sending application can repeat the request. The time period varies with the communication domain.
In the UNIX domain, SOCK_DGRAM is similar to a message queue. In the Internet domain, SOCK_DGRAM is implemented using the User Datagram Protocol (UDP).
In the UNIX domain, SOCK_STREAM is like a full-duplex pipe. In the Internet domain, SOCK_STREAM is implemented using the Transmission Control Protocol (TCP).
A raw socket allows an application to have direct access to lower-level communications protocols. Raw sockets are intended for advanced users who want to employ protocol features not directly accessible through a normal interface, or who want to build new protocols using existing lower-level protocols. You can also use SOCK_RAW to communicate with hardware interfaces.
Raw sockets are normally datagram-oriented, though their exact characteristics depend on the interface provided by the protocol. They are available only within the Internet domain.
Sockets can be named, which allows unrelated processes on a system or network to locate a specific socket and to exchange data with it. The bound name is a variable-length byte string that is interpreted by the supporting protocol or protocols. Its interpretation varies from communication domain to communication domain. In the Internet domain, names contain an Internet address and port number, and the family is AF_INET. In the UNIX domain, names contain a pathname and the family is AF_UNIX.
Communicating processes are bound by an association. In the Internet domain, an association comprises a protocol, local and foreign addresses, and local and foreign ports. When a name is bound to a socket in the Internet domain, the local address and port are specified.
In the UNIX domain, an association comprises local pathnames. Binding a name to a socket in the UNIX domain means specifying a pathname.
In most domains, associations must be unique.
The kernel implementation of sockets separates the networking subsystem into the following three interacting layers:
In addition to the abstractions described in Section 4.1.1, the socket interface is comprises system and library calls, library functions, and data structures that enable you to manipulate sockets and send and receive data.
Additionally, the kernel provides ancillary services to the sockets framework, such as buffer management, message routing, standardized interfaces to the protocols, and interfaces to the network interface drivers for use by the various network protocols.
The sockets framework supports connection-oriented and connectionless modes of communication. Connection-oriented communication means that the application specifies a socket type in a communication domain that supports a connection-oriented protocol. For example, an application could open a SOCK_STREAM socket in the AF_INET domain. SOCK_STREAM sockets in the AF_INET domain are supported by the TCP protocol, which is a connection-oriented protocol.
Connectionless communication means that the application specifies a socket type in a communication domain that supports a connectionless protocol. For example, a SOCK_DGRAM socket in the AF_INET communication domain is supported by the UDP protocol, which is a connectionless protocol.
TCP is the connection-oriented protocol implemented on Digital UNIX. TCP is a reliable end-to-end transport protocol that provides for recovery of lost data, transmission errors, and failures of intervening gateways. TCP ensures accurate delivery of data by requiring that two processes be connected before communicating. TCP/IP connections are often compared to telephone connections. Data passed through a SOCK_STREAM socket in the AF_INET domain is divided into segments and identified by sequence numbers. The remote process acknowledges receipt of data by including sequence numbers in the acknowledgement. If data is lost enroute, it is resent; thus ensuring that data arrives in the correct sequence to the application.
For applications where large amounts of data are exchanged and the sequence in which the data arrives is important, connection-oriented communication is preferable. File transfer programs are a good example of applications that benefit from the connection-oriented mode of communication offered by TCP.
UDP is the connectionless protocol implemented on Digital UNIX. UDP functions as follows:
UDP messages can be lost, duplicated, or arrive out of order. UDP/IP connections are often compared to the postal service.
Where small amounts of data are exchanged and sequencing is not vital, connectionless communication works well. A good example of a program that uses connectionless communication is the rwhod daemon, which periodically broadcasts UDP packets containing system information to the network. It matters little whether or in what sequence those packets are delivered.
UDP is also appropriate for applications that use IP multicast for delivery of datagrams to a subset of hosts on a local area network.
The most commonly used paradigm in constructing distributed applications is the client/server model. A server process offers services to a network; a client process uses those services. The client and server require a well-known set of conventions before services is rendered and accepted. This set of conventions a protocol comprises that must be implemented at both ends of a connection. Depending on the situation, the protocol can be connection-oriented (asymmetric) or connectionless (symmetric).
In a connection-oriented protocol, such as TCP, one side is always recognized as the server and the other as the client. The server binds a socket to a well-known address associated with the service and then passively listens on its socket. The client requests services from the server by initiating a connection to the server's socket. The server accepts the connection and then server and client can exchange data. An example of a connection-oriented protocol application is Telnet.
In a connectionless protocol, such as UDP, either side can play the server or client role. The client does not establish a connection with the server; instead, it sends a datagram to the server's address. Similarly, the server does not accept a connection from a client. Rather, it issues a recvfrom system call that waits until data arrives from a client. (See Section 4.3.6.)
This section lists the system and library calls that the socket layer comprises. It also lists the header files that define socket-related constants and structures, and describes some of the most important data structures contained in those header files.
Table 4-2 lists the socket system calls and briefly describes their function. Note that each call has an associated reference page by the same name.
| System Call | Description |
| accept | Accepts a connection on a socket to create a new socket. |
| bind | Binds a name to a socket. |
| connect | Initiates a connection on a socket. |
| getpeername | Gets the name of the connected peer. |
| getsockname | Gets the socket name. |
| getsockopt | Gets options on sockets. |
| listen | Listens for socket connections and specifies the maximum number of queued requests. |
| recv | Receives messages, peeks at incoming data, and receives out-of-band data. |
| recvfrom | Receives messages. Has all of the functions of the recv call, plus supplies the address of the peer process. |
| recvmsg | Receives messages. Has all of the functions of the recv and recvfrom calls, plus receives specially interpreted data (access rights), and performs scatter I/O operations on message buffers. |
| send | Sends messages. Also sends out-of-band data and normal data without network routing. |
| sendmsg | Sends messages. Has all of the functions of the send and sendto calls, plus transmits specially interpreted data (access rights), and performs gather I/O operations on message buffers. |
| sendto | Sends messages. Has all of the functions of the send call, plus supplies the address of the peer process. |
| setsockopt | Sets socket options. |
| shutdown | Shuts down all socket send and receive operations. |
| socket | Creates an endpoint for communication and returns a descriptor. |
| socketpair | Creates a pair of connected sockets. |
Application programs use socket library calls to construct network addresses for use by the interprocess communications facilities in a distributed environment.
Network library subroutines map the following items:
Additional socket library calls exist to simplify manipulation of names and addresses.
An application program must include the <netdb.h> header file when using any of the socket library calls.
Application programs use the following network library routines to map Internet host names to addresses:
The
gethostbyname
routine takes an Internet host name and returns a
hostent
structure, while the
gethostbyaddr
routine maps Internet host
addresses into a
hostent
structure. The
hostent
structure
consists of the following components:
struct hostent {
char *h_name; /* official name of host */
char **h_aliases; /* alias list */
int h_addrtype; /* host address type (e.g., AF_INET) */
int h_length; /* length of address */
char **h_addr_list; /* list of addresses, null terminated
first address, network byte order */
#define h_addr h_addr_list[0]
};
The gethostbyaddr and gethostbyname subroutines return the official name of the host and its public aliases, along with the address family and a null terminated list of variable-length addresses. This list of addresses is required because it is possible for a host to have many addresses with the same name.
The database for these calls is the /etc/hosts file. If the named name server is running, the hosts database is maintained on a designated server on the network. Because of the differences in the databases and their access protocols, the information returned can differ. When using the /etc/hosts version of gethostbyname, only one address is returned, but all listed aliases are included. The named version can return alternate addresses, but does not provide any aliases other than one given as a parameter value.
Application programs use the following network library routines to map network names to numbers and network numbers to names:
The getnetbyaddr, getnetbyname, and getnetent routines extract their information from the /etc/networks file and return a netent structure, as follows:
struct netent {
char *n_name; /* official name of net */
char **n_aliases; /* alias list */
int n_addrtype; /* net address type */
in_addr_t n_net; /* network number, host byte order */
};
Application programs use the following network library routines to map protocol names to protocol numbers:
The getprotobynumber, getprotobyname, and getprotoent subroutines extract their information from the /etc/protocols file and return the protoent entry, as follows:
struct protoent {
char *p_name; /* official protocol name */
char **p_aliases; /* alias list */
int p_proto; /* protocol number */
};
Application programs use the following network library routines to map service names to port numbers:
A service is expected to reside at a specific port and employ a particular communication protocol. This view is consistent with the Internet domain, but inconsistent with other network architectures. Further, a service can reside on multiple ports. If this occurs, the higher-level library routines must be bypassed or extended. Services available are contained in the /etc/services file. A service mapping is described by the servent structure, as follows:
struct servent {
char *s_name; /* official service name */
char **s_aliases; /* alias list */
int s_port; /* port number, network byte order */
char *s_proto; /* protocol to use */
};
The
getservbyname
routine maps service names to a
servent
structure by
specifying a service name and, optionally, a qualifying protocol. Thus,
the following call returns the service specification for a Telnet
server by using any protocol:
sp = getservbyname("telnet", (char *) NULL);
In contrast, the following call returns only the Telnet server that uses the TCP protocol:
sp = getservbyname("telnet", "tcp");
The getservbyport and getservent routines are also provided. The getservbyport routine has an interface similar to that provided by getservbyname; an optional protocol name can be specified to qualify lookups.
When you have to create or interpret Internet Protocol (IP) suite data in your program, standard methods exist for conversion. The IP suite ensures consistency by requiring particular data formats. Digital UNIX provides functions that let a program convert data to and from those formats. Additionally, the Internet Protocol suite assumes that the most significant byte is in the lowest address, a format known as big-endian. Functions are available to convert from network-byte order to host-byte order and vice versa.
Four functions ensure that data passed by your program is interpreted correctly by the network and vice versa:
Application programs use the following related network library routines to manipulate Internet address strings and 32-bit address quantities:
Table 4-3 lists and briefly describes the socket library calls. Note that each call has an associated reference page by the same name. The socket library calls are part of libc, so there is no need to link in a special library.
| Name | Description |
| endhostent | Ends a series of host entry lookups. |
| endnetent | Ends a series of network entry lookups. |
| endprotoent | Ends a series of protocol entry lookups. |
| endservent | Ends a series of service entry lookups. |
| gethostbyaddr | Given the address of a host, retrieves the host entry from either the name server (named) or the /etc/hosts file. |
| gethostbyname | Given the name of a host, retrieves the host entry from either the name server (named) or the /etc/hosts file. |
| gethostent | Retrieves the next host entry from either the name server (named) or the /etc/hosts file, opening this file if necessary. |
| getnetbyaddr | Given the address of a network, retrieves the network entry from the /etc/networks file. |
| getnetbyname | Given the name of a network, retrieves the network entry from the /etc/networks file. |
| getnetent | Retrieves the next network entry from the /etc/networks file, opening this file if necessary. |
| getprotobyname | Given the protocol name, retrieves the protocol entry from the /etc/protocols file. |
| getprotobynumber | Given the protocol number, retrieves the protocol entry from the /etc/protocols file. |
| getprotoent | Retrieves the next protocol entry from the /etc/protocols file, opening this file if necessary. |
| getservbyname | Given the name of a service, retrieves the service entry from the /etc/services file. |
| getservbyport | Given the port number of a service, retrieves the service entry from the /etc/services file. |
| getservent | Retrieves the next service entry from the /etc/services file, opening this file if necessary. |
| htonl | Converts a 32 bit integer from host-byte order to Internet network-byte order. |
| htons | Converts an unsigned short integer from host-byte order to Internet network-byte order. |
| inet_addr | Breaks apart a character string representing numbers expressed in the Internet standard dot (.) notation, and returns an Internet address. |
| inet_lnaof | Breaks apart an Internet host address and returns the local network address. |
| inet_makeaddr | Constructs an Internet address from an Internet network number and a local network address. |
| inet_ntoa | Translates an Internet integer address into a dot-formatted character string. |
| inet_netof | Breaks apart an Internet host address and returns the network number. |
| inet_network | Breaks apart a character string representing numbers expressed in the Internet standard dot (.) notation, and returns an Internet network number. |
| ntohl | Converts a 32 bit integer from Internet network standard-byte order to host-byte order. |
| ntohs | Converts an unsigned short integer from Internet network-byte order to host-byte order. |
| sethostent | Begins a series of host entry lookups. |
| setnetent | Begins a series of network entry lookups. |
| setprotoent | Begins a series of protocol entry lookups. |
| setservent | Begins a series of service entry lookups. |
Socket header files contain data definitions, structures, constants, macros, and options used by the socket system calls and subroutines. An application program must include the appropriate header file to make use of structures or other information a particular socket system call or subroutine requires. Table 4-4 lists commonly used socket header files.
| File Name | Description |
| <sys/socket.h> | Contains data definitions and socket structures. You need to include this file in all socket applications. |
| <sys/types.h> | Contains data type definitions. You need to include this file in all socket applications. This header file is included in <sys/socket.h>. |
| <sys/un.h> | Defines structures for the UNIX domain. You need to include this file in your application if you plan to use UNIX domain sockets. |
| <netinet/in.h> | Defines constants and structures for the Internet domain. You need to include this file in your application if you plan to use TCP/IP in the Internet domain. |
| <netdb.h> | Contains data definitions for socket subroutines. You need to include this file in your application if you plan to use TCP/IP and need to look up host entries, network entries, protocol entries, or service entries. |
This section describes the following data structures:
The sockaddr structures contain information about a socket's address format. Because the communication domain in which an application creates a socket determines its address format, it also determines its data structure.
Socket address data structures
are defined in the header files described in
Section 4.2.3.3.
Which header
file is appropriate depends on the type of socket you are creating. The possible
types of socket address data structures are as follows:
unsigned char sa_len; /* total length */
sa_family_t sa_family; /* address family */
char sa_data[14]; /* actually longer;
address value */
The sa_len parameter defines the total length. The sa_family parameter defines the socket address family or domain, which is AF_UNIX for the UNIX domain or AF_INET for the Internet domain. The contents of sa_data depend on the protocol in use, but generally a socket name consists of a machine-name part and a port-name or service-name part.
unsigned char sun_len; /* sockaddr len including null*/ sa_family_t sun_family; /* AF_UNIX, address family*/ char sun_path[]; /* path name */
UNIX domain protocols (AF_UNIX) have socket addresses up to PATH_MAX plus 2 bytes long. The PATH_MAX parameter defines the maximum number of bytes of the pathname.
unsigned char sin_len; sa_family_t sin_family; in_port_t sin_port; struct in_addr sin_addr;
The Internet networking routines only support 16-byte structures. Sockets created in the Internet domain (AF_INET), therefore, have socket addresses that do not exceed 16 bytes.
The msghdr data structure, which is defined in the <sys/socket.h> header file, allows applications to pass access rights to system-maintained objects (such as files, devices, or sockets) using the sendmsg and recvmsg system calls. (See Section 4.3.6 for information on the sendmsg and recvmsg system calls.) The processes transmitting data must be connected with a UNIX domain socket.
The .msghdr data structure also allows AF_INET sockets to receive certain data. See the descriptions of the IP_RECVDSTADDR and IP_RECVOPTS options in the ip(7) reference page.
The msghdr data structure consists of the following components:
struct msghdr {
void *msg_name; /* optional address */
size_t msg_namelen; /* size of address */
struct iovec *msg_iov; /* scatter/gather array */
int msg_iovlen; /* # elements in msg_iov */
void *msg_control; /* ancillary data, see below */
size_t msg_controllen; /* ancillary data buffer len */
int msg_flags; /* flags on received message */
};
In addition to the XPG4 msghdr data structure, Digital UNIX also supports the 4.3BSD and the 4.4BSD versions of this data structure. The BSD versions of the msghdr data structure are described in greater detail in Section 4.4.
This section outlines the steps required to create and use sockets. Connection-oriented and connectionless modes of communication are described in the following sections:
Describes how to create a socket with the socket and socketpair system calls.
Describes how to bind a name and address to a socket with the bind system call.
Describes how to use the connect system call on a client to connect to a server.
Describes how to use the listen and accept system calls to connect a server to a client.
Describes how to use the
setsockopt
and
getsockopt
system calls to set and retrieve the values of socket
characteristics.
Describes how to use the read and write system calls, as well as the send and recv related system calls to transmit data.
Describes how to use the shutdown system call to shut down a socket.
Describes how to use the close system call to close a socket.
The first step in using sockets is creating a socket. Sockets are opened, or created, with the socket or socketpair system calls.
The syntax of the socket system call is as follows:
s = socket (domain, type, protocol);
In the preceding statement:
See socket(2) for more information.
The socket call returns a socket descriptor, s, which is an a nonnegative integer that the application program uses to reference the newly created socket in subsequent system calls. The socket descriptor returned is the lowest unused number available in the calling process for such descriptors and is an index into the kernel descriptor table.
For example, to create a stream socket in the Internet domain, you can use the following call:
if ((s = socket(AF_INET, SOCK_STREAM,0)) == -1 ) {
fprintf(file1,"socket() failed\n");
local_flag = FAILED;
}
This call results in the creation of a stream socket with the TCP protocol providing the underlying communication support. To create a datagram socket in the UNIX domain, you can use the following call:
if ((s = socket(AF_UNIX, SOCK_DGRAM,0)) == -1 ) {
fprintf(file1, "socket() failed\n");
local_flag = FAILED;
}
This call results in the creation of a datagram socket with a UNIX domain protocol providing the underlying communication support.
The socketpair system call can also be used to create sockets. The socketpair system call creates an unnamed pair of sockets that are already connected. The syntax of the socketpair system call is as follows:
socketpair (domain, type, protocol, socket_vector [2]);
In the preceding statement:
See socketpair(2) for more information.
The socketpair system call returns a pair of socket descriptors, which are a nonnegative integers, that the application uses to reference the newly created socket pair in subsequent system calls.
The following example shows how to create a socket pair:
{
.
.
.
int sv[2];
.
.
.
if ((s = socketpair (AF_UNIX, SOCK_STREAM, 0, sv)) < 0) {
local_flag=FAILED;
fprintf(file1, "socketpair() failed\n");
}
.
.
.
}
Sockets can be set to blocking or nonblocking I/O mode. The O_NONBLOCK fcntl operation is used to determine this mode. When O_NONBLOCK is clear (not set), which is the default, the socket is in blocking mode. In blocking mode, when the socket tries to do a read and the data is not available, it waits for the data to become available.
When O_NONBLOCK is set, the socket is in nonblocking mode. In nonblocking mode, when the calling process tries to do a read and the data is not available, the socket returns immediately with the EWOULDBLOCK error code. It does not wait for the data to become available. Similarly, during writing, when a socket has O_NONBLOCK set and the output queue is full, an attempt by the socket to write causes the process to return immediately with an error code of EWOULDBLOCK.
The following example shows how to mark a socket as nonblocking:
#include <fcntl.h>
.
.
.
int s;
.
.
.
if (fcntl(s, F_SETFL, O_NONBLOCK) < 0) perror("fcntl F_SETFL, O_NONBLOCK"); exit(1); }
.
.
.
When performing nonblocking I/O on sockets, a program must check for the EWOULDBLOCK error, which is stored in the global value errno. The EWOULDBLOCK error occurs when an operation normally blocks, but the socket on which it was performed is marked as nonblocking. The following socket system calls all return the EWOULDBLOCK error code:
Processes that use these system calls on nonblocking sockets must be prepared to deal with the EWOULDBLOCK return codes.
When an operation, such as a send, cannot be completed but partial writes are permissible (for example, when using a SOCK_STREAM socket), the data that can be sent immediately is processed, and the return value indicates the amount of data actually sent.
The bind system call associates an address with a socket. The domain for the socket is established with the socket system call. Regardless of the domain in which the bind system call is used, it allows the local process to fill in information about itself, for example, the local port or local pathname. This information allows the server application to be located by a client application.
The syntax for the bind system call is as follows:
bind (s, *address, address_len);
In the preceding statement:
The following example shows how to use the bind system call on a SOCK_STREAM socket created in the Internet domain:
#define PORT 3000
int retval; /* General return value */ int s1_descr; /* Socket 1 descriptor */
.
.
.
struct sockaddr_in sock1addr; /* Address struct for socket1.*/
.
.
.
s1_descr = socket (AF_INET, SOCK_STREAM, 0); if (s1_descr < 0) /* Call failed */
.
.
.
bzero(&sock1addr, sizeof(sock1addr)); sock1addr.sin_family = AF_INET; sock1addr.sin_addr.s_addr = INADDR_ANY; sock1addr.sin_port = htons(PORT); retval = bind (s1_descr, (struct sockaddr *) &sock1addr, sizeof(sock1addr)); if (retval < 0) /* Call failed */
.
.
.
See Section 4.6.2 and bind(2) for more information.
Sockets are created in the unconnected state. Client processes use the connect system call to connect to a server process or to store a server's address locally, depending on whether the communication is connection-oriented or connectionless. For the Internet domain, the connect system call typically causes the local address, local port, foreign address, and foreign port of an association to be assigned.
The syntax of the connect system call depends on the communication domain. The syntax of the connect system call is as follows:
connect (s, *address, address_len);
In the preceding statement:
An error is returned if the connection was unsuccessful; any name automatically bound by the system remains, however. Common errors associated with sockets are listed in Table 4-5 in Section 4.5. If the connection is successful, the socket is associated with the server and data transfer begins.
See connect(2) for more information.
Selecting a connection-oriented protocol in the Internet domain means choosing TCP. In such cases, the connect system call builds a TCP connection with the destination, or returns an error if it cannot. Client processes using TCP must call the connect system call to establish a connection before they can transfer data through a reliable stream socket (SOCK_STREAM).
Selecting a connectionless protocol in the Internet domain means choosing UDP. Client processes using connectionless protocols do not have to be connected before they are used. If connect is used under these circumstances, it stores the destination (or server) address locally so that the client process does not need to specify the server's address each time a message is sent. Any data sent on this socket is automatically addressed to the connected server process and only data received from that server process is delivered.
Only one connected address is permitted at any time for each socket; a second connect system call changes the destination address and a connect system call to a null address (address INADDR_ANY) causes a disconnect. The connect system call on a connectionless protocol returns immediately, since it results in the operating system recording the server's socket's address (as compared to a connection-oriented protocol, where a connect request initiates establishment of an end-to-end connection).
While a socket using a connectionless protocol is connected, errors from recent send system calls can be returned asynchronously. These errors can be reported on subsequent operations on the socket. A special socket option, SO_ERROR (used with the getsockopt system call), can be used to query the error status. A select system call, issued to determine when more data can be sent or received, will return true when a process has received an error indication.
In any case, the next operation will return the error and clear the error status.
The syntax of the select system call is as follows:
select (nfds, *readfds, *writefds, *exceptfds, *timeout);
In the preceding statement:
See select(2) for more information.
The following is an example of the select system call:
if ( (ret_val = select(20,&read_mask,NULL,NULL,&tp)) != i )
A connection-oriented server process normally listens at a well-known address for service requests. That is, the server process remains dormant until a connection is requested by a client's connection to the server's address. Then, the server process wakes up and services the client by performing the actions the client requests.
Connection-oriented servers use the listen and accept system calls to prepare for and then accept connections with client processes.
The listen system call is usually called after the socket and bind system calls. It indicates that the server is ready to receive connect requests from clients.
The syntax of the listen system call is as follows:
listen (s, backlog);
In the preceding statement:
Servers that process a small number of connections can specify a small
backlog. Servers that process a high volume of connections can specify a
larger value. The kernel imposes an upper limit on the backlog, which
is determined by the SOMAXCONN parameter.
See listen(2) for more information.
The server accepts a connection to a client by using the accept system call.
The syntax of the accept system call is as follows:
accept (s, *address, *address_len);
In the preceding statement:
See accept(2) for more information.
An accept call blocks the server until a client requests service. This call returns a failure status if the call is interrupted by a signal such as SIGCHLD. Therefore, the return value from accept is checked to ensure that a connection was established.
When the connection is made, the server normally forks a child process which creates another socket with the same properties as socket s (the socket on which it is listening). Note in the following example how the socket s, used by the parent for queuing connection requests, is closed in the child while the socket g, which is created as a result of the accept call, is closed in the parent. The address of the client is also handed to the doit routine because it is required for authenticating clients. After the accept system call creates the new socket, it allows the new socket to service the client's connection request while it continues listening on the original socket; for example:
for (;;) {
int g, len = sizeof (from);
g = accept(s, (struct sockaddr *)&from, &len);
if (g < 0) {
if (errno != EINTR)
syslog(LOG_ERR, "rlogind: accept: %m");
continue;
}
if (fork() == 0) { /* Child */
close(s);
doit(g, &from);
}
close(g); /* Parent */
}
Connectionless servers use the bind system call but, instead of using the accept system call, they use a recvfrom system call and then wait for client requests. No connection is established between the connectionless server and client during the process of exchanging data.
In addition to binding a socket to a local address or connecting to a destination address, application programs must be able to control the socket. For example, with protocols that use time-out and retransmission, the application program may want to obtain or set the time-out parameters. It may also want to control the allocation of buffer space, determine if the socket allows transmission of a broadcast, or control processing of out-of-band data.
The getsockopt and setsockopt system calls provide the application program with the means to control socket operations. The setsockopt system call allows an application program to set a socket option by using the same set of values obtained with the getsockopt system call.
The syntax of the setsockopt system call is as follows:
setsockopt (s, level, optname, *optval, optlen);
In the preceding statement:
See setsockopt(2) for more information.
The following example shows how to set the SO_SNDBUF option on a socket in the Internet communication domain:
# include <sys/socket.h>
.
.
.
int retval; /* General return value. */ int s1_descr; /* Socket 1 descriptor */ int sockbufsize=16384;
.
.
.
retval = setsockopt (s1_descr, SOL_SOCKET, SO_SNDBUF, (void *)
&sockbufsize, sizeof(sockbufsize));
The getsockopt system call allows an application program to request information about the socket options that are set with the setsockopt system call.
The syntax of the getsockopt system call is as follows:
getsockopt (s, level, optname, *optval, *optlen);
The parameters are the same as for the setsockopt system call, with the exception of the optlen parameter, which is a pointer to the size of the buffer.
The following example shows how the getsockopt system call can be used to determine the size of the SO_SNDBUF on an existing socket:
#include <sys/socket.h>
.
.
.
int retval; /* General return value. */ int s1_descr; /* Socket 1 descriptor */ int sbufsize; size_t len = sizeof(sbufsize);
.
.
.
retval = getsockopt (s1_descr, SOL_SOCKET, SO_SNDBUF, (void *)&sbufsize, &len);
The SOL_SOCKET parameter indicates that the general socket level code is to interpret the SO_SNDBUF parameter. The SO_SNDBUF parameter indicates the size of the send socket buffer in use on the socket.
Not all socket options apply to all sockets. The options that can be set depend on the address family and protocol the socket uses.
Most of the work performed by the socket layer is in sending and receiving data. The socket layer itself does not impose any structure on data transmitted or received through sockets. Any data interpretation or structuring is logically isolated in the implementation of the communication domain.
The following are the system calls that an application uses to send and receive data:
The read system call allows a process to receive data on a socket without receiving the sender's address.
The syntax for the read system call is as follows:
read (s, *buf, nbytes);
In the preceding statement:
See read(2) for more information.
The write system call is used on sockets in the connected state. The destination of data transferred with the write system call is implicitly specified by the connection.
The syntax for the write system call is as follows:
write (s, *buf, nbytes);
In the preceding statement:
See write(2) for more information.
The send, sendto, recv, and recvfrom system calls are similar to the read and write system calls, sharing the first three parameters with them; however, additional flags are required. The flags, defined in the <sys/socket.h> header file, can be defined as a nonzero value if the application program requires one or more of the following:
| Flag | Description |
| MSG_OOB | Send or receive out-of-band data. |
| MSG_PEEK | Look at data without reading. Valid for the recv and recvfrom calls. |
| MSG_DONTROUTE | Send data without routing packets. Valid for the send and sendto calls. |
The MSG_OOB flag signifies out-of-band data, or urgent data, and
is specific to stream sockets (SOCK_STREAM).
See
Section 4.6.3
for more information about out-of-band data.
The MSG_PEEK flag allows an application to preview the data that is available to be read, without having the system discard it after the recv or recvfrom call returns. When the MSG_PEEK flag is specified with a recv system call, any data present is returned to the user but treated as still unread. That is, the next read or recv system call applied to the socket returns the data previously previewed.
The MSG_DONTROUTE flag is currently used only by the routing table management process and is not discussed further.
The send system call is used on sockets in the connected state. The send and write system calls function almost identically; the only difference is that send supports the flags described at the beginning of this section.
The syntax for the send system call is as follows:
send (s, *message, len, flags);
In the preceding statement:
See send(2) for more information.
The sendto system call is used on connected or unconnected sockets. It allows the process explicitly to specify the destination for a message.
The syntax for the sendto system call is as follows:
sendto (s, *message, len, flags, *dest_addr, dest_len);
In the preceding statement:
See sendto(2) for more information.
The recv system call allows a process to receive data on a socket without receiving the sender's address. The read and recv system calls function almost identically; the only difference is that recv supports the flags described at the beginning of this section.
The syntax for the recv system call is as follows:
recv (s, *message, len, flags);
In the preceding statement:
See recv(2) for more information.
The recvfrom system call can be used on connected or unconnected sockets. The recvfrom system call has similar functionality to the recv call but it additionally allows an application to receive the address of a peer with whom it is communicating.
The syntax for the recvfrom system call is as follows:
recvfrom (s, *buf, len, flags, *src_addr, *src_len);
In the preceding statement:
See recvfrom(2) for more information.
The sendmsg and recvmsg system calls are distinguished from the other send and receive related system calls in that they allow unrelated processes on the local machine to pass file descriptors to each other. These two system calls are the only ones that support the concept of access rights, which means that the system has granted a process the right to access a system-maintained object. Using the sendmsg and recvmsg system calls they can pass that right to another process.
To pass access rights, the sendmsg and recvmsg system calls use the msghdr data structure. The msghdr data structure defines two parameters, the msg_control and msg_controllen that deal with the passing and receiving of access rights between processes. For more information on the msghdr data structure, see Section 4.2.3.4 and Section 4.4.2.
Although the sendmsg and recvmsg system calls can be used on connection-oriented or connectionless protocols and in the Internet or UNIX domains, for processes to pass descriptors they must be connected with a UNIX domain socket.
The sendmsg system call is used on connected or unconnected sockets. It transfers data using the msghdr data structure. For more information on the msghdr data structure, see Section 4.2.3.4 and Section 4.4.2.
The syntax for the sendmsg system call is as follows:
sendmsg (s, *message, flags);
In the preceding statement:
See sendmsg(2) for more information.
The following is an example of the sendmsg system call:
struct msghdr send; struct iovec saiov; struct sockaddr destAddress; char sendbuf[BUFSIZE];
.
.
.
send.msg_name = (void *)&destAddress; send.msg_namelen = sizeof(destAddress); send.msg_iov = &saiov; send.msg_iovlen = 1; saiov.iov_base = sendbuf; saiov.iov_len = sizeof(sendbuf); send.msg_control = NULL; send.msg_controllen = 0; send.msg_flags = 0; if ((i = sendmsg(s, &send, 0)) < 0) { fprintf(file1,"sendmsg() failed\n"); exit(1); }
The recvmsg system call is used on connected or unconnected sockets. It transfers data using the msghdr data structure. For more information on the msghdr data structure, see Section 4.2.3.4 and Section 4.4.2.
The syntax of the recvmsg system call is as follows:
recvmsg (s, *message, flags);
In the preceding statement:
See recvmsg(2) for more information.
The following is an example of the recvmsg system call:
struct msghdr recv; struct iovec recviov; struct sockaddr_in recvaddress; char recvbuf[BUFSIZE];
.
.
.
recv.msg_name = (void *) &recvaddress; recv.msg_namelen = sizeof(recvaddress); recv.msg_iov = &recviov; recv.msg_iovlen = 1; recviov.iov_base = recvbuf; recviov.iov_len = sizeof(recvbuf); recv.msg_control = NULL; recv.msg_controllen = 0 recv.msg_flags = 0 if ((i = recvmsg(r, &recv, 0)) < 0) { fprintf(file1,"recvmsg() failed\n"); exit(1); }
.
.
.
If an application program has no use for any pending data, it can use the shutdown system call on the socket prior to closing it. The syntax of the shutdown system call is as follows:
shutdown (s, how);
In the preceding statement:
See shutdown(2) for more information.
The close system call is used to close sockets. The syntax of the close system call is as follows:
close (s);
In the preceding statement:
See close(2) for more information.
Closing a socket and reclaiming its resources can be complicated. For example, a close system call is never expected to fail when a process exits. However, when a socket that is promising reliable delivery of data closes with data still queued for transmission or awaiting acknowledgment of reception, the socket must attempt to transmit the data. When the socket discards the queued data to allow the close call to complete successfully, it violates its promise to deliver data reliably. Discarding data can cause naive processes that depend on the implicit semantics of the close call to work unreliably in a network environment.
However, if sockets block until all data is transmitted successfully, a close system call may never complete in some communication domains.
The socket layer compromises in an effort to address the completion problem and still maintain the semantics of the close system call. In normal operation, closing a socket causes any queued but unaccepted connections to be discarded. If the socket is in a connected state, a disconnect is initiated. The socket is marked to indicate that a descriptor is no longer referencing it, and the close operation returns successfully. When the disconnect request completes, the network support notifies the socket layer, and the socket resources are reclaimed. The network layer attempts to transmit any data queued in the socket's send buffer, but there is no guarantee that it will succeed.
Alternatively, a socket can be marked explicitly to force the application program to linger when closing until pending data is flushed and the connection shuts down. This option is marked in the socket data structure by using the setsockopt system call with the SO_LINGER option.
Note
The setsockopt system call, using the linger option, takes a linger structure, which is defined in the <sys/socket.h> header file.
When an application program indicates that a socket is to linger, it also specifies a duration for the lingering period. If the lingering period expires before the disconnect is completed, the socket layer forcibly shuts down the socket, discarding any data that is still pending.
In addition to the XPG4 socket interface, Digital UNIX also supports the 4.3BSD and 4.4BSD socket interfaces. The 4.4BSD socket interface provides a number of changes to 4.3BSD sockets. Most of the changes between the 4.3BSD and 4.4BSD socket interfaces were designed to facilitate the implementation of International Standards Organization (ISO) protocol suites under the sockets framework. The XPG4 socket interface provides a standard version of the socket interface.
Note
The availability of the 4.4BSD socket interface does not mean that your site supports ISO protocols. Check with the appropriate personnel at your site.
To use the 4.4BSD socket interface, you must add the following line to your program or makefile:
#define _SOCKADDR_LEN
The 4.4BSD socket interface includes the following changes from the 4.3BSD interface for application programs:
The following sections describe these features.
The 4.4BSD version of the sockaddr structure supports variable-length network addresses. The structure adds a length field and is defined as follows:
/* 4.4BSD sockaddr Structure */
struct sockaddr { u_char sa_len; /* total length */ u_char sa_family; /* address family */ char sa_data[14]; /* actually longer; address value */ };
The 4.3BSD sockaddr structure contains the following fields:
u_short sa_family; char sa_data[14];
Figure 4-2 compares the 4.3BSD and 4.4BSD sockaddr structures.

The 4.3BSD version of the msghdr structure (which is the default if you use the cc command) provides the parameters needed for using the optional functions of the sendmsg and recvmsg system calls.
The 4.3BSD msghdr structure is as follows:
/* 4.3BSD msghdr Structure */
struct msghdr {
caddr_t msg_name; /* optional address */
int msg_namelen; /* size of address */
struct iovec *msg_iov; /* scatter/gather array */
int msg_iovlen; /* # elements in msg_iov */
caddr_t msg_accrights; /* access rights sent/re-
/* ceived */
int msg_accrightslen;
};
The msg_name and msg_namelen parameters are used when the socket is not connected. The msg_iov and msg_iovlen parameters are used for scatter (read) and gather (write) operations. As stated previously, the msg_accrights and msg_accrightslen parameters allow the sending process to pass its access rights to the receiving process.
The 4.4BSD structure has additional fields that permit application programs to include protocol information along with user data in messages.
To support the receipt of protocol data together with user data, Digital UNIX provides the msghdr structure from the 4.4BSD socket interface. The structure adds a pointer to control data, a length field for the length of the control data, and a flags field, as follows:
/* 4.4BSD msghdr Structure */
struct msghdr {
caddr_t msg_name; /* optional address */
u_int msg_namelen; /* size of address */
struct iovec *msg_iov; /* scatter/gather array */
u_int msg_iovlen; /* # elements in msg_iov */
caddr_t msg_control; /* ancillary data, see below */
u_int msg_controllen; /* ancillary data buffer len */
int msg_flags; /* flags on received message */
};
The XPG4 msghdr data structure has the same fields as 4.4BSD. However, the size of the msg_namelen and msg_controllen fields are 8 bytes long in the XPG4 msghdr data structure, as opposed to 4 bytes long in the 4.4BSD msghdr data structure. Figure 4-3 shows the 4.3BSD, 4.4BSD, and XPG4 msghdr structures.

In the 4.3BSD version of the msghdr data structure, the msg_accrights and msg_accrightslen fields permit the sending process to pass its access rights to a system-maintained object, in this case a socket, to the receiving process. In the 4.4BSD and XPG4 versions, this is done using the msg_control and msg_controllen fields.
Table 4-5 lists some common socket error messages the problems they indicate:
| Error | Diagnostics |
| [EAFNOSUPPORT] | The protocol family does not support the addresses in the specified address family. |
| [EBADF] | The socket parameter is not valid. |
| [ECONNREFUSED] | The attempt to connect was rejected. |
| [EFAULT] | A pointer does not point to a valid part of user address space. |
| [EHOSTDOWN] | The host is down. |
| [EHOSTUNREACH] | The host is unreachable. |
| [EINVAL] | An invalid argument was used. |
| [EMFILE] | The current process has too many open file descriptors |
| [ENETDOWN] | The network is down. |
| [ENETUNREACH] | The network is unreachable. No route to the network is present. |
| [ENOMEM] | The system was unable to allocate kernel memory to increase the process descriptor table. |
| [ENOTSOCK] | The socket parameter refers to a file, not a socket. |
| [EOPNOTSUPP] | The specified protocol does not permit creation of socket pairs. |
| [EOPNOTSUPP] | The referenced socket can not accept connections. |
| [EPROTONOSUPPORT] | This system does not support the specified protocol. |
| [EPROTOTYPE] | The socket type does not support the specified protocol. |
| [ETIMEDOUT] | The connection timed out without a response from the remote application. |
| [EWOULDBLOCK] | The socket is marked nonblocking and the operation could not complete. |
This section contains the following information, which is of interest to developers writing complex applications for sockets:
The syntax of the socket system call is described in Section 4.3.1. If the third argument to the socket call, the protocol argument, is zero (0), the socket call selects a default protocol to use with the returned socket descriptor. The default protocol is usually correct and alternate choices are not usually available. However, when using raw sockets to communicate directly with lower-level protocols or hardware interfaces, the protocol argument can be important for setting up demultiplexing.
For example, raw sockets in the Internet family can be used to implement a new protocol above IP and the socket receives packets only for the protocol specified. To obtain a particular protocol, you must determine the protocol number as defined within the communication domain. For the Internet domain, you can use one of the library routines described in Section 4.2.3.2.
The following code shows how to use the getprotobyname library call to select the protocol newtcp for a SOCK_STREAM socket opened in the Internet domain:
#include <sys/types.h> #include <sys/socket.h> #include <netinet/in.h> #include <netdb.h>
.
.
.
struct protent *pp;
.
.
.
pp = getprotobyname("newtcp"); s = socket(AF_INET, SOCK_STREAM, pp->p_proto);
The bind system call associates an address with a socket.
The local machine address for a socket can be any valid network address of the machine. Because one system can have several valid network addresses, binding addresses to sockets in the Internet domain can be complicated. To simplify local address binding, the constant INADDR_ANY, a wildcard address, is provided. The INADDR_ANY address tells the system that this server process will accept a connection on any of its Internet interfaces, if it has more than one.
The following example shows how to bind the wildcard value INADDR_ANY to a local socket:
#include <sys/types.h> #include <sys/socket.h> #include <netinet/in.h> #include <stdio.h>
main() { int s, length; struct sockaddr_in name; char buf[1024];
.
.
.
/* Create name with wildcards. */ name.sin_family = AF_INET; name.sin_len = sizeof(name); name.sin_addr.s_addr = INADDR_ANY; name.sin_port = 0; if (bind(s, (struct sockaddr *)&name, sizeof(name))== -1) { perror("binding datagram socket"); exit(1); }
.
.
.
}
Sockets with wildcard local addresses can receive messages directed to the specified port number, and send to any of the possible addresses assigned to that host. Note that the socket uses a wildcard value for its local address; a process sending messages to the named socket must specify a valid network address. A process can be willing to receive a message from anywhere, but it cannot send a message anywhere.
When a server process on a system with more than one network interface wants to allow hosts to connect to only one of its interface addresses, the server process binds the address of the appropriate interface. For example, if a system has two addresses 130.180.123.45 and 131.185.67.89, a server process can bind the address 130.180.123.45. Binding that address ensures that only connections addressed to 130.180.123.45 can connect to the server process.
Similarly, a local port can be left as unspecified (specified as zero), in which case the system selects a port number for it.
Processes that communicate in the UNIX domain (AF_UNIX) are bound by an association that local and foreign pathnames comprises. UNIX domain sockets do not have to be bound to a name but, when bound, there can never be duplicate bindings of a protocol, local pathname, or foreign pathname. The pathnames cannot refer to files existing on the system. The process that binds the name to the socket must have write permission on the directory where the bound socket will reside.
The following example shows how to bind the name socket to a socket created in the UNIX domain:
#include <sys/types.h> #include <sys/socket.h> #include <sys/un.h> #include <stdio.h>
#define NAME "socket"
main() { int s, length; struct sockaddr_un name; char buf[1024];
.
.
.
/* Create name. */ name.sun_len = sizeof(name.sun_len) + sizeof(name.sun_family) + strlen(NAME); name.sun_family = AF_UNIX; strcpy(name.sun_path, NAME); if (bind(s, (struct sockaddr *) &name, sizeof(name))==-1) { perror("binding name to datagram socket"); exit(1); }
.
.
.
}
Out-of-band data is a logically independent transmission channel associated with each pair of connected stream sockets. Out-of-band data can be delivered to the socket independently of the normal receive queue or within the receive queue, depending on the status of the SO_OOBINLINE option, set with the setsockopt system call.
The stream socket abstraction specifies that the out-of-band data facilities must support the reliable delivery of at least one out-of-band message at a time. This message must contain at least one byte of data and at least one message can be pending delivery to the user at any one time.
The socket layer supports marks in the data stream that indicate the end of urgent data or out-of-band processing. The socket mechanism does not return data from both sides of a mark in a single system call.
You can use MSG_PEEK to peek at out-of-band data. If the socket has a process group, a SIGURG signal is generated when the protocol is notified of its existence. A process can set the process group or process ID to be informed by the SIGURG signal via the appropriate fcntl call, as described in Section 4.6.8 for SIGIO.
When multiple sockets have out-of-band data awaiting delivery, an application program can use a select call for exceptional conditions to determine which sockets have such data pending. The SIGURG signal or select call notifies the application program that data is pending. The application then must issue the appropriate call actually to receive the data.
In addition to the information passed, a logical mark is placed in the data stream to indicate the point at which the out-of-band data was sent. When a signal flushes any pending output, all data up to the logical mark in the data stream is discarded.
To send an out-of-band message, the MSG_OOB flag is supplied to a send or a sendto system call. To receive out-of-band data, an application program must set the MSG_OOB flag when performing a recvfrom or recv system call.
An application program can determine if the read pointer is currently pointing to the mark in the data stream by using the the SIOCATMARK ioctl:
ioctl(s, SIOCATMARK, &yes);
If yes is a 1 on return, meaning that no out-of-band data arrived, the next read returns data after the mark. If out-of-band data did arrive, the next read provides data sent by the client prior to transmission of the out-of-band signal. The following program shows the routine used in the remote login process to flush output on receipt of an interrupt or quit signal. This program reads the normal data up to the mark (to discard it), then reads the out-of-band byte:
#include <sys/ioctl.h> #include <sys/file.h>
.
.
.
oob() { int out = FWRITE, mark; char waste[BUFSIZ];
/* flush local terminal output */ ioctl(1, TIOCFLUSH, (char *)&out); for (;;) { if (ioctl(rem, SIOCATMARK, &mark) < 0) { perror("ioctl"); break; } if (mark) break; (void) read(rem, waste, sizeof (waste)); } if (recv(rem, &mark, 1, MSG_OOB) < 0) { perror("recv");
.
.
.
} }
A process can also read or peek at the out-of-band data without first reading up to the logical mark. This is difficult when the underlying protocol delivers the urgent in-band data with the normal data and only sends notification of its presence ahead of time; for example, the TCP protocol. With such protocols, when the out-of-band byte has not yet arrived and a recv system call is done with the MSG_OOB flag, the call returns an EWOULDBLOCK error. There can be enough in-band data in the input buffer so that normal flow control prevents the peer from sending the urgent data until the buffer is cleared. The process must then read enough of the queued data so that the urgent data can be delivered.
Note
Certain programs that use multiple bytes of urgent data and must handle multiple urgent signals need to retain the position of urgent data within the stream. The socket-level SO_OOBINLINE option provides this capability and Digital strongly recommends that you use it.
The socket-level SO_OOBINLINE option retains the position of the urgent data (the logical mark). The urgent data immediately follows the mark within the normal data stream that is returned without the MSG_OOB flag. Reception of multiple urgent indications causes the mark to move, but no out-of-band data is lost.
Internet Protocol (IP) multicasting provides applications with IP layer access to the multicast capability of Ethernet and Fiber Distribution Data Interface (FDDI) networks. IP multicasting, which delivers datagrams on a best-effort basis, avoids the overhead imposed by IP broadcasting (described in Section 4.6.5) on uninterested hosts; it also avoids consumption of network bandwidth by applications that would otherwise transmit separate packets with identical data to reach several destinations.
IP multicasting achieves efficient multipoint delivery
through use of
host groups.
A host group is a group of zero or more hosts that is identified by a single Class
D IP destination address. A Class D address has 1110 in the
four high-order bits. In dotted decimal notation, IP multicast addresses
range from 224.0.0.0 to 239.255.255.255, with 224.0.0.0 being reserved.
A member of a particular host group receives a copy of all data sent to the IP address representing that host group. Host groups can be permanent or transient. A permanent group has a well-known, administratively assigned IP address. In permanent host groups, it is the address of the group that is permanent, not its membership. The number of group members can fluctuate, even dropping to zero. The all hosts group group is an example of a permanent host group whose assigned address is 224.0.0.1. Digital UNIX systems join the all hosts group to participate in the Internet Group Management Protocol (IGMP). (See Request for Comments 1112: Host Extensions for IP Multicasting for more information about IGMP and IP multicasting.)
IP addresses that are not reserved for permanent host groups are available for dynamic assignment to transient groups. Transient groups exist only as long as they have one or more members.
Note
IP multicasting is not supported over connection-oriented transports such as TCP.
IP multicasting is implemented using options to the setsockopt system call, described in the following sections. Definitions required for multicast-related socket options are in the <netinet/in.h> header file. Your application must include this header file if you intend it to receive IP multicast datagrams.
To send IP multicast datagrams, an application indicates the host group to send to by specifying an IP destination address in the range of 224.0.0.0 to 239.255.255.255 in a sendto system call. The system maps the specified IP destination address to the appropriate Ethernet or FDDI multicast address prior to transmitting the datagram.
An application can explicitly control multicast options with arguments to the setsockopt system call. The following options can be set by an application using the setsockopt system call:
Note
The syntax for and arguments to the setsockopt system call are described in Section 4.3.5 and the setsockopt(2) reference page. The examples here and in Section 4.6.4.2 illustrate how to use the setsockopt options that apply to IP multicast datagrams only.
The IP_MULTICAST_TTL option to the setsockopt system call allows an application to specify a value between 0 and 255 for the time-to-live (TTL) field. Multicast datagrams with a TTL value of 0 restrict distribution of the multicast datagram to applications running on the local host. Multicast datagrams with a TTL value of 1 are forwarded only to hosts on the local subnet. If a multicast datagram has a TTL value greater than 1 and a multicast router is attached to the sending host's network, then multicast datagrams can be forwarded beyond the local subnet. Multicast routers forward the datagram to known networks that have hosts belonging to the specified multicast group. The TTL value is decremented by each multicast router in the path. When the TTL value is decremented to 0, the datagram is not forwarded further.
The following example shows how to use the IP_MULTICAST_TTL option to the setsockopt system call:
u_char ttl; ttl=2;
if (setsockopt(sock, IPPROTO_IP, IP_MULTICAST_TTL, &ttl,
sizeof(ttl)) == -1) perror("setsockopt");
A datagram addressed to an IP multicast destination is transmitted from the default network interface unless the application specifies that an alternate network interface is associated with the socket. The default interface is determined by the interface associated with the default route in the kernel routing table or by the interface associated with an explicit route, if one exists. Using the IP_MULTICAST_IF option to the setsockopt system call, an application can specify a network interface other than that specified by the route in the kernel routing table.
The following example shows how to use the
IP_MULTICAST_IF
option to the
setsockopt
system call to specify an interface other than the
default:
int sock;
struct in_addr ifaddress;
char *if_to_use = "16.141.64.251";
.
.
.
ifaddress.s_addr = inet_addr(if_to_use);
if (setsockopt(sock, IPPROTO_IP, IP_MULTICAST_IF, &ifaddress,
sizeof(ifaddress)) == -1)
perror ("error from setsockopt IP_MULTICAST_IF");
else
printf ("new interface set for sending multicast datagrams\n");
If a multicast datagram is sent to a group of which the sending host is a member, a copy of the datagram is, by default, looped back by the IP layer for local delivery. The IP_MULTICAST_LOOP option to the setsockopt system call allows an application to disable this loopback delivery.
The following example shows how to use the IP_MULTICAST_LOOP option to the setsockopt system call:
u_char loop=0;
if (setsockopt( sock, IPPROTO_IP, IP_MULTICAST_LOOP,
&
loop
sizeof(
loop
)) == -1)
perror("setsockopt");
When the value of loop is 0, loopback is disabled. When the value of loop is 1, it is enabled. For performance reasons, Digital recommends disabling the default, unless applications on the same host must receive copies of the datagrams.
Before a host can receive IP multicast datagrams destined for a particular multicast group other than the all hosts group, an application must direct the host to become a member of that multicast group. This section describes how an application can direct a host to add itself to and remove itself from a multicast group.
An application can direct the host it is running on to join a multicast group by using the IP_ADD_MEMBERSHIP option to the setsockopt system call as follows:
struct ip_mreq mreq;
if (setsockopt( sock, IPPROTO_IP, IP_MULTICAST_LOOP, &
mreq
sizeof(
mreq
)) == -1)
perror("setsockopt"); mreq
The
mreq
variable
has the following structure:
struct ip_mreq
{
struct in_addr
imr_multiaddr;
/* IP multicast address of group */
struct in_addr
imr_interface;
/* local IP address of interface */
};
Each multicast group membership is associated with a particular interface. It is possible to join the same group on multiple interfaces. The imr_interface variable can be specified as INADDR_ANY, which allows an application to choose the default multicast interface. Alternatively, specifying one of the host's local addresses allows an application to select a particular, multicast-capable interface. The maximum number of memberships that can be added on a single socket is subject to the IP_MAX_MEMBERSHIPS value, which is defined in the <netinet/in.h> header file.
To drop membership in a particular multicast group use the IP_DROP_MEMBERSHIP option to the setsockopt system call:
struct ip_mreq mreq;
if (setsockopt( sock, IPPROTO_IP, IP_DROP_MEMBERSHIP,
&
mreq
sizeof(
mreq
))== -1)
perror("setsockopt");
The mreq variable contains the same structure values used for adding membership.
If multiple sockets request that a host join a particular multicast group, the host remains a member of that multicast group until the last of those sockets is closed.
To receive multicast datagrams sent to a specific UDP port, the receiving socket must have bound to that port using the bind system call. More than one process can receive UDP datagrams destined for the same port if the bind system call (described in Section 4.3.2) is preceded by a setsockopt system call that specifies the SO_REUSEPORT option. The following example illustrates how to use the SO_REUSEPORT option to the setsockopt system call:
int setreuse = 1; if (setsockopt(sock, SOL_SOCKET, SO_REUSEPORT, &setreuse,
sizeof(setreuse)) == -1)
perror("setsockopt");
When the SO_REUSEPORT option is set, every incoming multicast or broadcast UDP datagram destined for the shared port is delivered to all sockets bound to that port.
Delivery of IP multicast datagrams to SOCK_RAW sockets is determined by the protocol type of the destination.
Using a datagram socket, it is possible to send broadcast packets on many networks supported by the system. The network itself must support broadcast; the system provides no simulation of broadcast in the software.
Broadcast messages can place a high load on a network because they force every host on the network to service them. Consequently, the ability to send broadcast packets is limited to sockets that are explicitly marked as allowing broadcasting.
Broadcast is typically used for one of two reasons: to find a resource on a local network without prior knowledge of its address, or to route some information, which requires that information be sent to all accessible neighbors.
Note
Broadcasting is not supported over connection-oriented transports such as TCP.
To send a broadcast message, use the following procedure:
s = socket(AF_INET, SOCK_DGRAM, 0);
int on = 1;
if (setsockopt(s, SOL_SOCKET, SO_BROADCAST, &on, sizeof(on)) == -1) perror("setsockopt");
sin.sin_len = sizeof(sin);
sin.sin_family = AF_INET;
sin.sin_addr.s_addr = htonl(INADDR_ANY);
sin.sin_port = htons(MYPORT);
if (bind(s, (struct sockaddr *) &sin, sizeof (sin)) == -1)
perror("setsockopt");
The destination address of the message depends on the network or networks on which the message is to be broadcast. The Internet domain supports a shorthand notation for broadcast on the local network, the address is INADDR_BROADCAST (as defined in netinet/in.h).
To determine the list of addresses for all reachable neighbors requires knowledge of the networks to which the host is connected. Digital UNIX provides a method of retrieving this information from the system data structures. The SIOCGIFCONF ioctl call returns the interface configuration of a host in the form of a single ifconf structure. This structure contains a data area that an array of ifreq structures comprises, one for each network interface to which the host is connected. These structures are defined in the <net/if.h> header file, as follows:
struct ifconf {
int ifc_len; /* size of associated buffer */
union {
caddr_t ifcu_buf;
struct ifreq *ifcu_req;
} ifc_ifcu;
#define ifc_buf ifc_ifcu.ifcu_buf /* buffer address */
#define ifc_req ifc_ifcu.ifcu_req /* array of structures returned */
};
struct ifreq {
#define IFNAMSIZ 16
char ifr_name[IFNAMSIZ]; /* if name, e.g. "en0" */
union {
struct sockaddr ifru_addr;
struct sockaddr ifru_dstaddr;
struct sockaddr ifru_broadaddr;
short ifru_flags;
int ifru_metric;
caddr_t ifru_data;
} ifr_ifru;
#define ifr_addr ifr_ifru.ifru_addr /* address */
#define ifr_dstaddr ifr_ifru.ifru_dstaddr /* other end of */
/* p-to-p link */
#define ifr_broadaddr ifr_ifru.ifru_broadaddr /* broadcast address */
#define ifr_flags ifr_ifru.ifru_flags /* flags */
#define ifr_metric ifr_ifru.ifru_metric /* metric */
#define ifr_data ifr_ifru.ifru_data /* for use by */
/* interface */
};
The actual call which obtains the interface configuration is as follows:
struct ifconf ifc; char buf[BUFSIZ];
ifc.ifc_len = sizeof (buf); ifc.ifc_buf = buf; if (ioctl(s, SIOCGIFCONF, (char *) &ifc) < 0) {
.
.
.
}
After this call, buf contains one ifreq structure for each network to which the host is connected, and ifc.ifc_len is modified to reflect the number of bytes used by the ifreq structures.
Each structure has a set of interface flags that tells whether the network corresponding to that interface flag is up or down, point-to-point or broadcast, and so on. The SIOCGIFFLAGS ioctl retrieves these flags for an interface specified by an ifreq structure, as follows:
struct ifreq *ifr;
ifr = ifc.ifc_req;
for (n = ifc.ifc_len / sizeof (struct ifreq); --n >= 0; ifr++) { /* * We must be careful that we don't use an interface * devoted to an address family other than those intended. */ if (ifr->ifr_addr.sa_family != AF_INET) continue; if (ioctl(s, SIOCGIFFLAGS, (char *) ifr) < 0) {
.
.
.
} /* * Skip irrelevant cases. */ if ((ifr->ifr_flags & IFF_UP) == 0 || (ifr->ifr_flags & IFF_LOOPBACK) || (ifr->ifr_flags & (IFF_BROADCAST | IFF_POINTOPOINT)) == 0) continue;
Once the flags are obtained, the broadcast address must be obtained. In the case of broadcast networks, this is done via the SIOCGIFBRDADDR ioctl; while, for point-to-point networks, the address of the destination host is obtained with SIOCGIFDSTADDR. For example:
struct sockaddr dst;
if (ifr->ifr_flags & IFF_POINTOPOINT) { if (ioctl(s, SIOCGIFDSTADDR, (char *) ifr) < 0) { ... } bcopy((char *) ifr->ifr_dstaddr, (char *) &dst, sizeof (ifr->ifr_dstaddr)); } else if (ifr->ifr_flags & IFF_BROADCAST) { if (ioctl(s, SIOCGIFBRDADDR, (char *) ifr) < 0) { ... } bcopy((char *) ifr->ifr_broadaddr, (char *) &dst, sizeof (ifr->ifr_broadaddr)); }
After the appropriate ioctl calls obtain the broadcast or destination address (now in dst), the sendto call is used; for example:
if (sendto(s, buf, buflen, 0, (struct sockaddr *)&dst, sizeof (dst)) < 0)
perror("sendto");
In the preceding loop, one
sendto
call occurs for every interface
to which the
host is connected that supports the notion of broadcast or point-to-point
addressing. If a process only wants to send broadcast messages on a given
network, code similar to that in the preceding example is used,
but the loop needs to find the correct destination address.
Digital UNIX supports the inetd Internet superserver daemon. The inetd daemon, which is invoked at boot time, reads the /etc/inetd.conf file to determine the servers for which it should listen.
Note
Only server applications written to run over sockets can use the inetd daemon in Digital UNIX. The inetd daemon in Digital UNIX does not support server applications written to run over STREAMS, XTI, or TLI.
For each server listed in /etc/inetd.conf the inetd daemon does the following:
Servers that use inetd are simplified because inetd takes care of most of the interprocess communication work required to establish a connection. The server invoked by inetd expects the socket connected to its client on file descriptors 0 and 1, and immediately performs any operations such as read, write, send, or recv.
Servers invoked by the inetd daemon can use buffered I/O as provided by the conventions in the <stdio.h> header file, as long as as they remember to use the fflush call when appropriate. See fflush(3) for more information.
The
getpeername
call, which returns the address of the
peer (process) connected on the other end of the socket,
is useful for developers writing server applications that use
inetd.
The following sample code shows how
to log the Internet address, in dot notation, of a
client connected to a server under
inetd:
struct sockaddr_in name; size_t namelen = sizeof (name);
.
.
.
if (getpeername(0, (struct sockaddr *)&name, &namelen) < 0) { syslog(LOG_ERR, "getpeername: %m"); exit(1); } else syslog(LOG_INFO, "Connection from %s", inet_ntoa(name.sin_addr));
.
.
.
While the getpeername call is especially useful when writing programs to run with inetd, it can be used under other circumstances.
Multiplexing is a facility used in applications to transmit and receive I/O requests among multiple sockets. This can be done by using the select call, as follows:
#include <sys/time.h> #include <sys/types.h>
.
.
.
fd_set readmask, writemask, exceptmask; struct timeval timeout;
.
.
.
if (select(nfds, &readmask, &writemask, &exceptmask, &timeout) < 0) perror("select");
The select call takes as arguments pointers to three sets:
The corresponding argument to the select call must be a null pointer, if the application is not interested in certain conditions; for example, read, write, or exceptions.
Note
Because XTI and TLI are implemented using STREAMS, you should use the poll system call instead of the select system call on any STREAMS file descriptors.
Each set is actually a structure that contains an array of integer bit masks. The size of the array is set by the FD_SETSIZE definition. The array is long enough to hold one bit for each of the FD_SETSIZE file descriptors.
The FD_SET (fd, &mask) and FD_CLR (fd, &mask) macros are provided to add and remove the fd file descriptor in the mask set. The set needs to be zeroed before use and the FD_ZERO (&mask) macro is provided to clear the mask set.
The nfds parameter in the select call specifies the range of file descriptors (for example, one plus the value of the largest descriptor) to be examined in a set.
A time-out value can be specified when the selection will not last more than a predetermined period of time. If the fields in timeout are set to zero (0), the selection takes the form of a poll, returning immediately. If the last parameter is a null pointer, the selection blocks indefinitely. Specifically, a return takes place only when a descriptor is selectable or when a signal is received by the caller, interrupting the system call.
The select call normally returns the number of file descriptors selected; if the select call returns because the time-out expired, then the value 0 is returned. If the select call terminates because of an error or interruption, a -1 is returned with the error number in errno and with the file descriptor masks unchanged.
Assuming a successful return, the three sets indicate which file descriptors are ready to be read f